Vridvinkelprovare för momentnycklar ”SmartCheck Angle” 720 astetta
- Varumärke
- Stahlwille
- Artikelnummer
- G654660720
- Lagerstatus
Nedladdningsbara filer
Produktbeskrivning
Utförande
Variabel och flexibel vridvinkelprovare tack vare utbytbara stöd för vridvinkelnycklar upp till 400 Nm. Display, displayhållare och stomme kan vridas 180°. Displayen och folietangentbordet är stänkvattenskyddade och höljet består av slagtålig plast. För transport kan vridarmen fixeras. Vridvinkelmätningar upp till 720° med förval av börvärde och utvärdering av mätresultaten direkt på apparaten. USB-gränssnitt för dokumentation av kontrollvärdena. Dessutom ett dubbelriktat gränssnitt som gör det möjligt att parametrisera nya kontrollvärden och att använda egna reglersystem. Upp till 2000 kontrollvärden med tidsstämpel kan sparas i apparaten. Dokumentationsprogram finns som tillval via kostnadsfri nedladdningslänk.
Användningslägen: Medlöpande visning (Track), toppvärdesvisning (Peak-Hold).
Fördel
Kompakt och variabel vridvinkelprovare. Strömförsörjning via nätdel eller batteri.
Användningsdata
Kontroll av att vridvinkelnycklar uppfyller specificerad tolerans.
Leveransinnehåll
Inklusive USB-nätadapter, reduceradaptrar till 1/4 tum och 3/8 tum, i stabil plastväska.
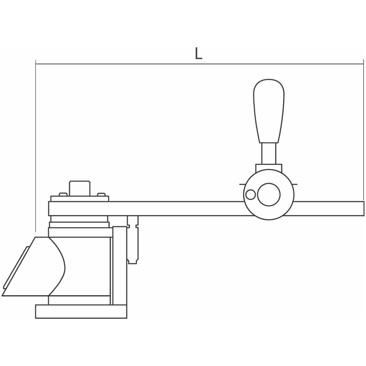
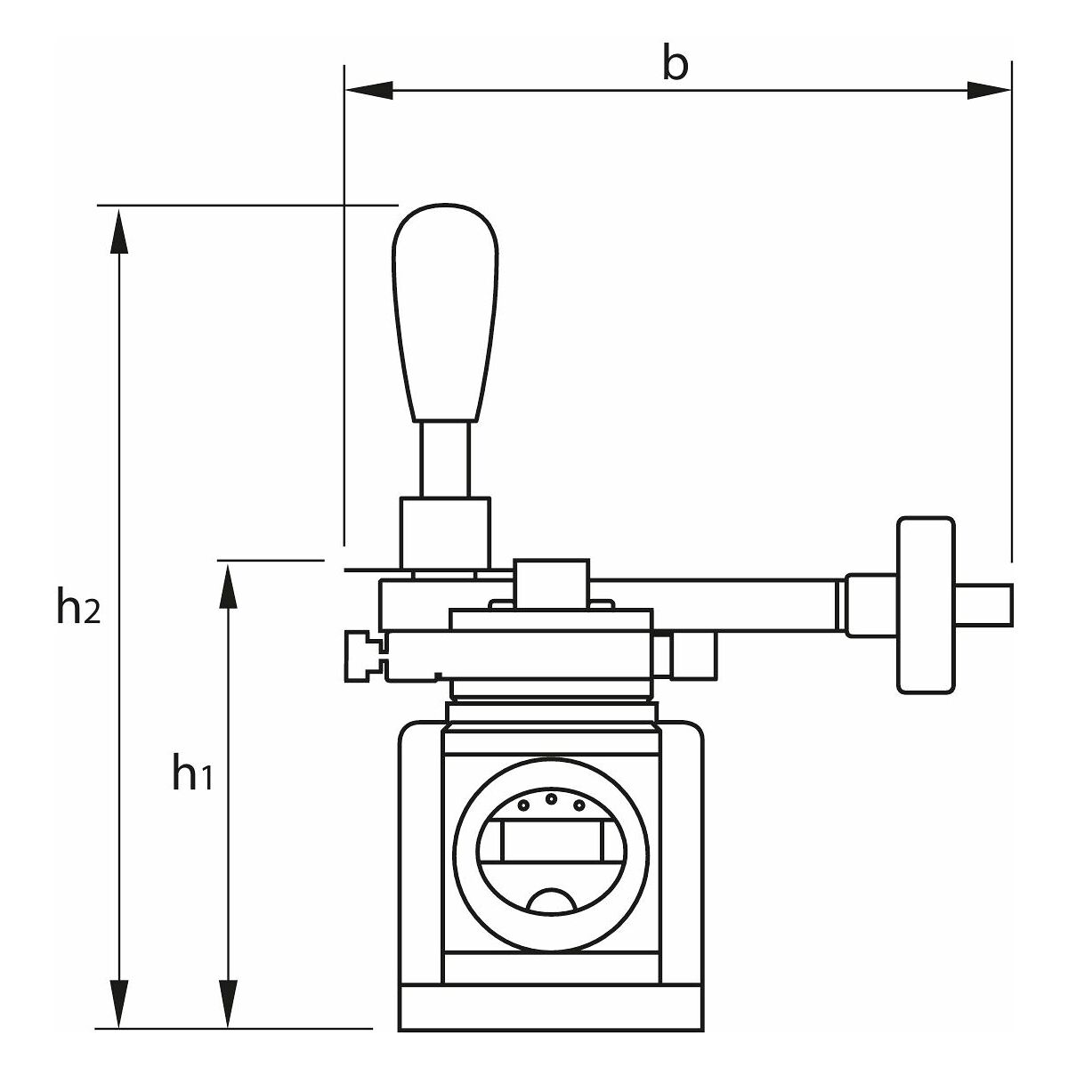
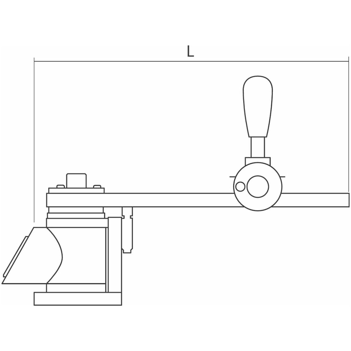
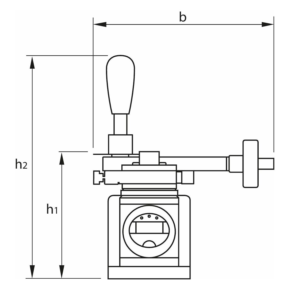
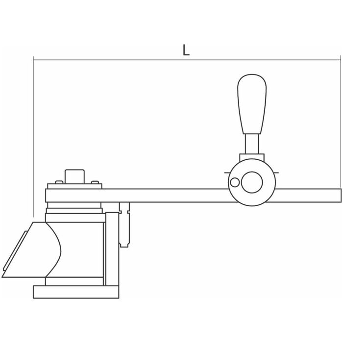
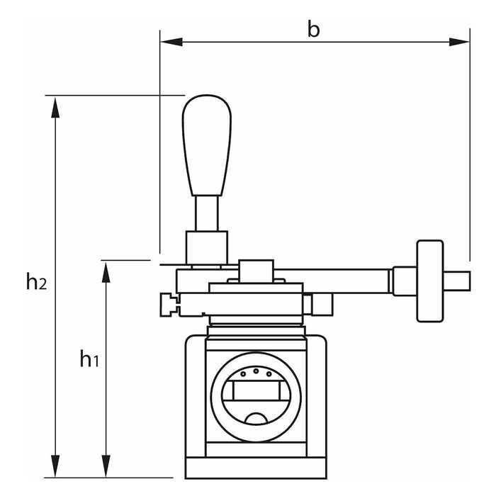
Teknisk data
| Produktslag | Testapparat för vridmoment |
|---|---|
| Fyrkantsfäste | 1/2 tum |
| Vikt | 7.8 kg |
| Energiförsörjning | Batteridriven; Nätdriven; Batteridriven; Nätdriven; Batteridriven; Nätdriven |
| Mätområde | 0 - 720 grad |
| Provningsprotokoll | Provningsprotokoll från tillverkaren |
| Kalibrering | Pris på förfrågan |
| Höjd h2 | 327 mm |
| Mätvärdesminne | ja |
| Höjd h1 | 187 mm |
| Mätnoggrannhet åtdragningsvinkel | ±0,05 grad |
| Bredd b | 263 mm |
| Längd l | 452 mm; 752 mm; 452 mm; 752 mm; 452 mm; 752 mm |
| Datautgång | USB-gränssnitt |
| Dragriktning | Höger- och vänsterdragning |
| Serie | SmartCheck |
Produktspecifikation
| Artikelnummer | G654660720 |
|---|---|
| EAN | 4018754323005 |